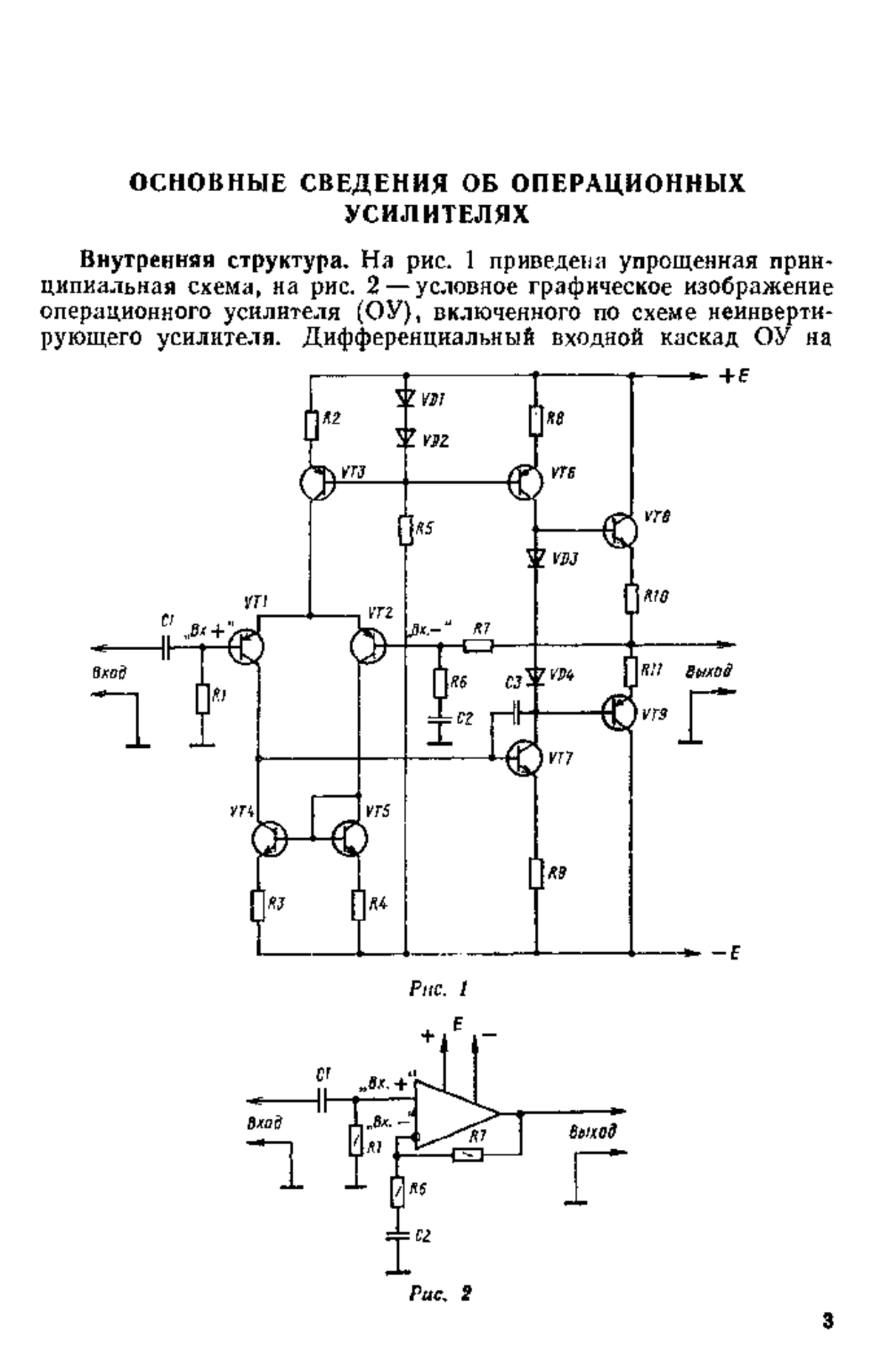
Книга: Применение операционных усилителей в радиолюбительских конструкциях

В доступной форме описаны принципы работы операционных усилителей. Приведены практические схемы усилителей звуковых частот, стабилизаторов напряжения; генераторов синусоидальных и прямоугольных колебаний. Даны рекомендации по их регулировке. Для широкого круга радиолюбителей. Издание второе. Предыдущее издание осуществлено в 1988г. издательством «Радио и связь».

Информация о документе

Формат документа
PDF, DJVU
Кол-во страниц
28 страниц
Загрузил(а)
Лицензия
Доступ
Всем

Информация о книге

ISBN
5703501393
Издательство
МАИ
Год публикации
1990
Автор(ы)
Орлов В. В.

Статистика просмотров

Статистика просмотров книги за 2025 год.