Книга: Анализаторы спектра С4-27, С4-28. ч. 2
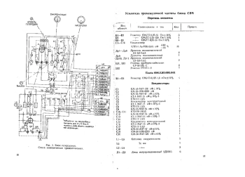
Анализатор спектра С4-27 и С4-28 предназначен для визуального наблюдения и измерения спектра повторяющихся радиоимпульсов, непрерывных периодических сигналов и стационарных шумов. Компактная, легкая модель анализатора надежна и может использоваться в различных условиях проведения работ по измерению и анализу. В книге дано техническое описание и инструкция по эксплуатации анализаторов спектра С4-27, С4-28. А также приведены схемы: блока СВЧ, блока гетеродинов, усилителя промежуточной частоты, анализатора спектра ПЧ, усилителя промежуточной частоты и пр.
Информация о документе
- Формат документа
- PDF, DJVU
- Кол-во страниц
- 69 страниц
- Загрузил(а)
- Лицензия
- —
- Доступ
- Всем
Информация о книге
Статистика просмотров
Статистика просмотров книги за 2025 год.