Книга: Методические указания к лабораторной работе "Исследование цепей постоянного тока" по курсу "Электротехника и основы радиоэлектроники (электроники)"

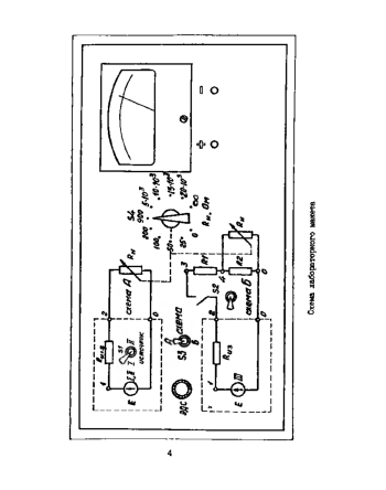
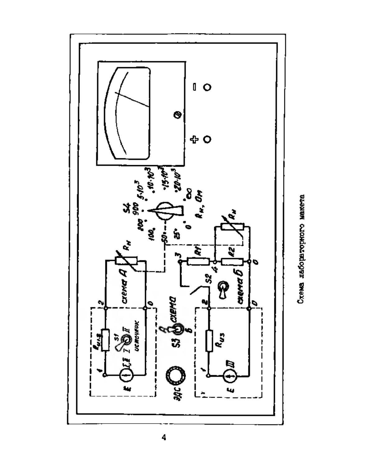
Перед вами методические указания к лабораторной работе «Исследование цепей постоянного тока» по курсу «Электронная и основы радиоэлектроники (электроники)» для студентов. Основной целью работы являются: закрепление теоретических знаний по разделу «Цепи постоянного тока»; получение практических навыков электрических измерений в цепях постоянного тока, обработки и анализа экспериментальных данных. Работа позволяет экспериментально убедиться в справедливости законов Ома, Кирхгофа, теоремы об эквивалентном генераторе, снять внешние характеристики источников электрической энергии.

Информация о документе

Формат документа
PDF, DJVU
Кол-во страниц
14 страниц
Загрузил(а)
Лицензия
Доступ
Всем

Информация о книге

Год публикации
1987
Автор(ы)
Приходько В. Д., Чепа Е. Я.

Статистика просмотров

Статистика просмотров книги за 2025 год.